Настройки доступности в современных играх становятся всё богаче. Судя по зарегистрированному японской компанией Sony Interactive Entertainment патенту, скоро среди опций появится возможность передать управление ИИ-помощнику.

Обзор ноутбука TECNO MEGABOOK S14 (S14MM): OLED с HDR как новая норма 
Самые ожидаемые игры 2026 года 
Итоги 2025-го: ИИ-лихорадка, рыночные войны, конец эпохи Windows 10 и ещё 12 главных событий года 
Лучшие игры 2025 года: выбор читателей и редакции 
Итоги 2025 года: интернет-индустрия 
Ryzen 9 против Core i9 и Core Ultra 9: большой тест флагманcких процессоров 
Итоги 2025 года: носимые устройства 
Итоги 2025 года: программное обеспечение 
Лучшие ИИ-сервисы и приложения 2025 года: боты одолевают 
Процессоры за 30 тысяч рублей — большой сравнительный тест
Источник изображения: PlayStation
Как подметили в издании Video Games Chronicle, заявку на регистрацию патента Sony подала ещё в сентябре 2024 года, однако отчёт о его состоянии Всемирная организация интеллектуальной собственности (WIPO) опубликовала лишь на этой неделе.
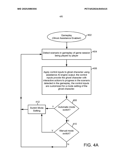
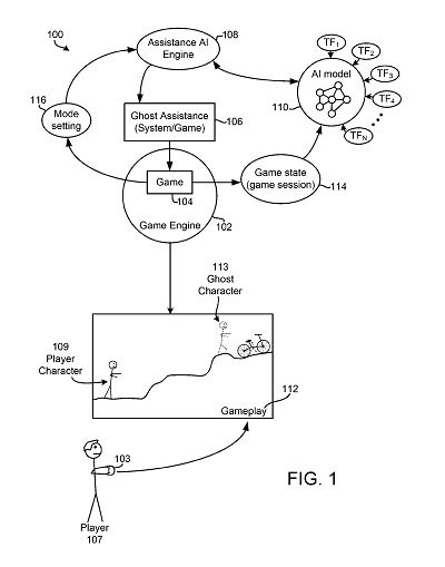
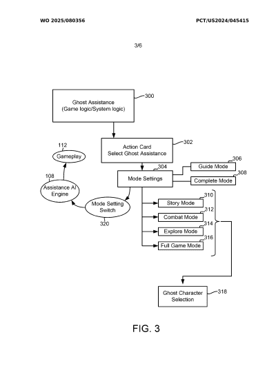
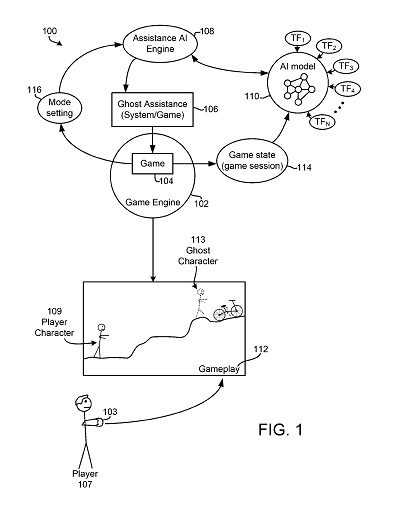
Патент описывает ИИ-помощника — вызываемую игроком призрачную версию своего персонажа, которая может показать прохождение конкретной секции уровня или даже самостоятельно её завершить.
Источник изображения: WIPO
Например, если пользователь застрял на головоломке в Uncharted, в режиме проводника (Guide Mode) ИИ-версия Нейтана Дрейка лишь покажет игроку решение загадки, а в альтернативном режиме (Complete Mode) сделает всё за геймера.
Согласно документации, ИИ-модель будет обучаться на записях геймплея в YouTube и Twitch, а также игровых данных из PlayStation Network. Предполагается, что помощника разрешат позвать на помощь в любой момент.
Иллюстрации к патенту (источник изображений: WIPO) 
Смотреть все изображения (5) 



Смотреть все
изображения (5)
В редакции Video Games Chronicle подметили, что ИИ-помощник от Sony видится эволюцией существующей системы «Справка по игре» для PS5, в рамках которой игроку могут предложить подсказки, советы или видеоролики с прохождением.
Стоит также отметить, что регистрация патента ещё не означает его использование. Та же Sony за последние годы запатентовала немало разных идей (например, замены геймпада повседневными объектами), которые до сих пор нигде не воплотила.
Источник: 3Dnews.ru

































